99 dtc po442
#1
Thread Starter
Join Date: Oct 2007
Location:
Posts: 8

My check engine went on 4-5 months ago. At the beginning on and off. In the past (6-7 years ago) it happen several times. Dealer response, always,gas cap.Anyway,went off.
But by now stay on. So i took a obd2 and check it. DTC PO 442 which is , EVAP system,small leak detected.I erase the code several time, check engine light came back whitin 3 to10 days ,using the truck
everyday. hey don't tell me about the gas cap! I also unplug the battery 2-3 times which had erase the code and turn off the light.But has i said came back.
where should i look for the leak? blazer 99 4.3L W 87 000 miles. run well, good pick-up.
thank's
But by now stay on. So i took a obd2 and check it. DTC PO 442 which is , EVAP system,small leak detected.I erase the code several time, check engine light came back whitin 3 to10 days ,using the truck
everyday. hey don't tell me about the gas cap! I also unplug the battery 2-3 times which had erase the code and turn off the light.But has i said came back.
where should i look for the leak? blazer 99 4.3L W 87 000 miles. run well, good pick-up.
thank's
#2
I'd start by removing the vent solenoid and bench testing it. If your's is like mine, you'll find a nice nest from some insect inside keeping the plunger from sealing. Mine was so bad that I couldn't clean the valve to get it to reseal so I had to buy a new one.
The location of the vent solenoid depends on if you have a 2dr or 4dr. On the 4dr, drop the spare tire and the vent solenoid will be on the front side of the crossmember directly ahead of the spare tire. It will be held on by a bracket and have a large vacuum line attached as well as an electrical connection. Once you get it off, you should be able to see how it comes apart. From there, use some WD40 to lubricate the plunger in the valve and actuate it by connecting the pins in the plug to a 12v source. Here's where I get a bit fuzzy... I think that when it is activated, you shouldnt' be able to blow through it, but I could have that reversed.
Hope this helps!
The location of the vent solenoid depends on if you have a 2dr or 4dr. On the 4dr, drop the spare tire and the vent solenoid will be on the front side of the crossmember directly ahead of the spare tire. It will be held on by a bracket and have a large vacuum line attached as well as an electrical connection. Once you get it off, you should be able to see how it comes apart. From there, use some WD40 to lubricate the plunger in the valve and actuate it by connecting the pins in the plug to a 12v source. Here's where I get a bit fuzzy... I think that when it is activated, you shouldnt' be able to blow through it, but I could have that reversed.
Hope this helps!
#3
Junior Member
Join Date: Mar 2007
Location:
Posts: 328

maybe your cap is actually bad, have you gotten a new one?
#4
Thread Starter
Join Date: Oct 2007
Location:
Posts: 8

In reply to coplinb, for the gas cap,it's my second one.
In reply to kyle, mine is a 2 doors by the way.
I will refer to my Haynes manuel to see the exact location of that vent solenoid.
thank's for the hint Kyle, very appreciate.
I let you know.
In reply to kyle, mine is a 2 doors by the way.
I will refer to my Haynes manuel to see the exact location of that vent solenoid.
thank's for the hint Kyle, very appreciate.
I let you know.
#5
On a 2dr, it will be located behind a small sheild attached via a little plastic pin to the main fuel tank sheild. As with the 4dr, you can choose to remove the bracket and valve or just bend back the tang that holds the valve on the bracket and pull it off. Whichever is easier.
#6
Mine has thrown that code several times and it has always been solved by opening the fuel cap and then retightening it. Sometimes the light goes off with the next start-up, sometimes the next day. My understanding is that it is most often caused by the cap not quite being sealed.
#7
Thread Starter
Join Date: Oct 2007
Location:
Posts: 8

In reply to rriddle 3 the gas cap is not the issue.
Hey Kyle, thank's.
I've been looking in my Haynes bookand i didn't found it.The only things i found so far is;the EVAP purge control solenoid who's located near the engine,a EVAP purge control valve that is mounted onthe
engine or on the canister(says the book) (canister located in the quarter panel behind the left rear wheel)
There is also a vent line from the gaz tank , one from the TB .connected to the canister.
Hey Kyle, thank's.
I've been looking in my Haynes bookand i didn't found it.The only things i found so far is;the EVAP purge control solenoid who's located near the engine,a EVAP purge control valve that is mounted onthe
engine or on the canister(says the book) (canister located in the quarter panel behind the left rear wheel)
There is also a vent line from the gaz tank , one from the TB .connected to the canister.
#8
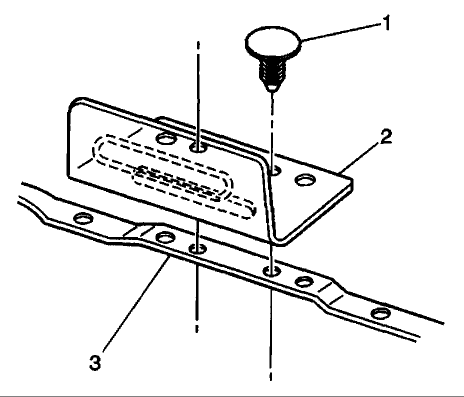
Yeah, the aftermarket repair manuals leave a LOT to be desired. Let me see if I can dig up a good illustration for you. On the 4dr it is relatively easy to find, but on the 2dr, the illustrations don't really show its location all that well...
Here ya go:


The first one is the sheild that should be attached to the fuel tank somewhere... The second shows the valve itself.
Here ya go:


The first one is the sheild that should be attached to the fuel tank somewhere... The second shows the valve itself.
#9
Thread Starter
Join Date: Oct 2007
Location:
Posts: 8

Hi,kyle,
Ok i'm living in a few minutes to finish some boby work and paint on my truck (getting rid of rust in lower quater panel,rear bumper done last week-end,let me tell you, lot of time but doing great).
Quite generic picture it looks like,it is very closelook,buti will follow your hint, and i'm gonna get under the truck to investigate. I might have to remove the skid plate to surch that valve.I will let you know by the beginning of the week.
hey , thak's again.
Ok i'm living in a few minutes to finish some boby work and paint on my truck (getting rid of rust in lower quater panel,rear bumper done last week-end,let me tell you, lot of time but doing great).
Quite generic picture it looks like,it is very closelook,buti will follow your hint, and i'm gonna get under the truck to investigate. I might have to remove the skid plate to surch that valve.I will let you know by the beginning of the week.
hey , thak's again.
#10
Beginning Member
Join Date: Sep 2008
Location:
Posts: 26

Gotta love searchs, kept me from making a new post. thank you for the good info guys
Thread
Thread Starter
Forum
Replies
Last Post
Kage0113
2nd Generation S-series (1995-2005) Tech
1
07-05-2008 07:28 PM








